Как сделать рулонные шторы своими руками?
- Как сделать рулонные шторы своими руками?
- Механизм для рулонных штор. Рулонные шторы — устройство механизма
- Рулонные шторы из обоев своими руками. Как сделать рулонные шторы из обоев – пошаговая инструкция с фото и видео, отзывы
- Механизм рольшторы своими руками. Инструкция по сборке механизма
- Поднимающиеся шторы своими руками. Для каких штор подходит
- Рулонные шторы своими руками из подручных материалов. Рулонные шторы своими руками. Изготовим сами.
- Их можно хорошо сочетать с постоянно открытыми легкими шторами и гардинами.
- рулонные шторы
- На рис.1 показан общий вид рулонной шторы:
- Для изготовления рулонной шторы необходимо:
- На рис. 2 показана выкройка рулонной шторы:
- выкройка рулонной шторы
- Раскрой:
- Порядок работы:
- Рис. 3. Крепление кольца с помощью ленты:
- Как повесить рулонную штору :
- Рис. 4. Расположение крючков на изнаночной стороне шторы:
- Рис.5 Крепление шнура на рулонной шторе:
- Рулонные шторы своими руками
Как сделать рулонные шторы своими руками?
Для изготовления рольштор понадобятся следующие материалы и инструменты:
- Ленты, веревки или шнуры для изготовления подвязок. Они должны быть длиннее полотна в два раза и еще иметь некоторый запас для завязывания.
- Деревянный брус или металлическая труба для штанги-вала, которая должна быть равна ширине полотна. Диаметр сечения может составлять 2,5–5 см.
- Металлические прутки или дополнительные бруски для утяжеления нижнего края шторы.
- Длинная линейка, мел, утюг, иголки, нитки, ножницы, швейная машинка.
- Дюбеля, саморезы, дрель, шуруповерт для монтажа.
Выбранная ткань необходимых размеров.После подготовки всех материалов и инструментов можно самим приступать к изготовлению рулонных штор.
Пошаговая инструкция:
- Раскроить материал по необходимым размерам и сшить его по ширине с одной, а по длине с обеих сторон. Получившийся «мешочек» выворачивается наизнанку.
- Конструкция утяжеляется с помощью бруска или металлического прутка, который можно поместить внутри шторы или сделать для него специальный карман. Если утяжелитель будет помещаться внутрь мешка, то от него следует отступить небольшое расстояние и прострочить полотно. После этого полотно зашивается сверху.
- Штора проглаживается, оборачивается вокруг штанги и крепится к ней с помощью степлера. Если штанга сделана из металлической трубы, то ткань сшивается.
- Завязки перебрасываются через брусок и крепятся так же, как полотно.
Сделанная своими руками рулонная штора будет скатываться и собираться вручную. Завязанными лентами или шнурами можно легко регулировать ее высоту . Конструкция устанавливается и укрепляется саморезами.
Рулонные шторы с боковым шнуром
Сделать конструкцию с таким механизмом можно из тех же материалов, но дополнительно понадобятся два нейлоновых шнура, два пластиковых кольца и крючки, на которых будет фиксироваться шнур.
Инструкция по изготовлению:
- Сверху и снизу полотна необходимо сделать карманы. В нижний карман вставляется и фиксируется рейка.
- Отступив от верхнего края шторы 5 см, на ленты пришиваются пластиковые кольца. От края ткани отступить следует около 15 см.
- Изделие фиксируется в оконном проеме или на окне с помощью крючков.
- Шнур меньшего размера привязывается к одному из крайних крючков, пропускается через нижний карман и продевается через кольцо.
- Длинный шнур фиксируется так же, только его следует продеть через оба кольца.
- Шнуры собираются, скрепляются и фиксируются на стене.
Раскроенный материал сшивается с изнаночной стороны только по длине.За счет противовеса такая штора будет легко закручиваться .
Механизм для рулонных штор своими руками
Чтобы полотно открывалось более удобно, можно самим сделать надежный, но более сложный механизм. Для его изготовления понадобится:
- деревянная планка круглого сечения;
- труба из нержавеющей стали;
- два подшипника.
По всей длине трубы с помощью автогена или сварочного аппарата делается разрез для выпуска полотна. Далее штора степлером или клеем крепится к деревянному бруску. На подготовленном стержне-бруске крепятся подшипники, которые внутри трубы должны сидеть плотно. Через механизм перекидываются держатели, и наматывается полотно.
Рулонные шторы из остатков обоев
Очень креативно в любом помещении будут на окнах смотреться бумажные роллеты. Смастерить их своими руками можно всего за один вечер.
Инструкция по изготовлению:
- На обоях начертить прямоугольник, равный ширине стекла. По длине он должен получиться на одну четвертую часть оконного стекла длиннее.
- Прямоугольник вырезать, и сформировать на нем через каждые пять сантиметров складки. Должна получиться «гармошка».
- По всей середине полотна с помощью шила протыкается отверстие, через которое вставляется шнур.
- В верхней части бумажного изделия подвязка фиксируется узлом, и полотно аккуратно расправляется.
Рулонные шторы из обоев готовы. Их можно сделать контрастными или из обоев, которые остались при ремонте оформляемого помещения.
Механизм для рулонных штор. Рулонные шторы — устройство механизма
Рулонные шторы с поднимающейся вверх тканью, способны обеспечить эффективную защиту помещения от проникающих в нее солнечных лучей. При максимальном их поднятии свет будет беспрепятственно проникать во все уголки комнаты. А в утренние и вечерние часы оно создаст некоторый полумрак в помещении, который подойдет для хорошего отдыха.
Структура представленных кулис и римских имеет одинаковый вид. Ключевыми элементами такой конструкции стали:
- защитное свойство выполняет плотная ткань устройства;
- полотно укрепляется на валу, на который оно наматывается во время подъема кулисы;
- с боков установлены профили, которые обеспечивают регулирование правильной ориентации конструкции;
- отвес предназначен для сохранения гладкости полотна, а также предотвращения возникновения складок.
Прикрепление кулис в оконной раме является наиболее легким и быстрым методом установки подобных элементов декора. Данный вид монтажа не потребует использование особых инструментов и сверления дополнительных отверстий.
Занавески прикрепляются на верхней части оконного проема, а также на потолке. В таком случае невозможно обойтись без использования дюбелей и саморезов. Поскольку конструкция такого приспособления довольно проста, то они могут эксплуатироваться в течении больших временных промежутков. Однако, не стоит забывать об их уходе: время от времени полотно обрабатывается особыми веществами, включающими в свой состав силикон. В случае поломки конструкции занавесок, отдельные детали для них можно подобрать в любом строительном магазине.
Рулонные шторы из обоев своими руками. Как сделать рулонные шторы из обоев – пошаговая инструкция с фото и видео, отзывы
Жалюзи — это универсальное средство защиты от солнечных лучей ранним утром или светлыми летними вечерами. Иногда возможности приобрести шторы попросту нет, а делать их самостоятельно требует много усилий.
Здесь вас выручат жалюзи. Их можно купить в магазине по более низкой цене или сделать своими руками с помощью рулона обоев и других подручных материалов. Также на помощь вам придут наши подробные фото- и
Изделия ручной работы всегда славились качеством и оригинальностью. Ручной труд оценивают гораздо выше отточенных инновационных технологий. Не прилагая особых усилий, можно самому сделать жалюзи в любимых тонах, разнообразив комнату. Такие занавески выглядят креативно и не останутся незамеченными вашими гостями.

Обойные жалюзи имеют определенные преимущества перед альтернативными вариантами:
- доступность, низкая цена. Все что вам понадобится — бумажные обои, веревочки, ленты и инструменты, имеющиеся в каждом доме;
- пожаробезопасность;
- легкость в изготовлении;
- возможность комбинировать с другими занавесками, шторами. Вы сами выбираете необходимый цвет, украшаете в соответствии с интерьером;
- регулируемость длины и ширины. В любом оконном проеме жалюзи будут выглядеть уместно и презентабельно;
- простота и универсальность в креплении и установке.

Среди недостатков отмечают:
- сложности в очистке штор от пыли, грязи. Их легко повредить, нельзя мочить водой;
- довольно быстро теряют первозданный вид, недолговечны;
- если оконный проем чересчур широкий, с регулировкой размера возникают трудности.
Разновидности бумажных шторок
Вырезанные шторы отличаются своеобразным дизайном и механизмом. Вы можете выбрать стилистику, сделать их на свой манер с добавлением деталей. Ниже приведены популярные разновидности.

Вертикальные жалюзи
Полосы штор, именуемые ламелями, расположены вертикально. Они поворачиваются под нужным углом, регулируются специальной веревочкой.

Горизонтальные жалюзи
Шторки характеризуются лестничным механизмом. Ламели располагаются поперек. Поднимаются и опускаются специальном барабаном.

Рулонные шторы
Жалюзи, которые сворачиваются в рулон особым механизмом.

Римские шторы из бумаги (павлиний хвост)
Жалюзи, подобные горизонтальным, с отличительной особенностью — закругленным веерным низом.

Что учитывать при выборе обоев
Главным фактором при выборе обоев являются ваш вкус и ожидания, которые вы возлагаете на функционал штор. Каждый материал имеет свои преимущества:
- обои из бумаги будут удобны в изготовлении. Они легче, хорошо держат форму. Но в использовании будут просвечивать, потому как материал достаточно тонкий. Если вы не любите слишком затемненные помещения, бумажные шторки — ваш вариант;
- флизелиновые, виниловые обои плотнее. Представлены широким спектром расцветок, узоров. Не станут пропускать свет, послужат дольше. Но не очень удобны в изготовлении, приходится держать, чтобы они не скручивались.

Отправившись в магазин за обоями, не спешите к витринам. Спросите у продавцов о старых нераспроданных обоях на складе. Их можно приобрести в том же количестве гораздо дешевле.
Важно учесть размеры оконного проема. Ширина обоев, как правило, встречается в полуметр, метр. Если окно слишком большое, берите метровые экземпляры, под небольшое окно будет достаточно обоев 50–55 см в ширину.
Можно взять обои под покраску, тогда вы сможете сами придумать дизайн для штор. Помните, что светлые тона рассеивают свет равномерно по комнате. Темные создадут ощущение ночного сумрака, безопасности и комфорта.
Варианты установки штор
Один из важных моментов — это установка штор. Существует несколько методов крепления занавесок к окну:
- внутри проема. На верхнюю часть оконной рамы, проема или на стену над самим окном. Для этого обозначьте горизонт, используйте удобные вам крепежные материалы;
- снаружи проема. Подойдет для нестандартных окон, находящихся неглубоко в стене. Поможет лучше затемнить помещение. Монтаж может предусматривать специальные кронштейны или крепление к потолку;
- к оконной раме. Такой способ крепления особенно подойдет для пластиковых окон. Шторки можно прикрепить к створкам с помощью специальных фиксаторов. Открывать и закрывать окна будет намного удобнее.

Подготовка к работе
Чтобы самостоятельно сделать шторы из обоев, вам понадобится:
- рулон обоев;
- ленты, веревочки, шнурки;
- ножницы, канцелярский нож;
Когда у вас имеются все необходимые инструменты и материалы, можно приступить к изготовлению жалюзи.
Механизм рольшторы своими руками. Инструкция по сборке механизма
Перед началом конструирования устройства на стене закрепляется основа в виде бруска, изготовленного из дерева. После на него будет монтироваться весь собранный и готовый продукт.Самостоятельное изготовлениеэтого устройства следует осуществлять по следующим последовательно идущим шагам:берем 2 подшипника и трубу определенного диаметра, созданную из нержавеющей стали или дерева;по всей длине трубы делается прорезь, необходимая для выпуска ткани автогеном;на брус из дерева при помощи степлера прикрепляется полотно, вырезанное из ткани;на брус стержень ставятся подшипники, которые обеспечивают плотность нахождения внутри трубы.Важно! Поэтапно следуя строго разработанной инструкции можно достигнуть качественного и желаемого результата.

Справиться с созданием такой занавески может даже неопытной в таком деле человек.Рулонные шторкине только очень удобная деталь интерьера, но и очень простая вещь, которую можно изготовить собственными руками. Тканевые полотна для окон изготовленные в виде рулона могут украсить любой дизайн комнаты.Создание рулонных штор своими руками — задача, которую может выполнить любой домашний мастер.Схема вставки утяжелителя.Подъемный механизм, который используется в указанной конструкции, выполнен в виде вала, поднятие или опускание штор происходит за счет его вращения.Такие шторы своими руками — задача несложная и интересная, чтобы ее выполнить, надо приобрести необходимые материалы и инструменты.Использование рулонных конструкций с подъемным механизмом в любой комнате может преобразить ее до неузнаваемости и позволит решать самые разнообразные дизайнерские решения. Но при установке рулонных штор необходимо учитывать все нюансы, так как вы можете как сделать дизайн стильным, так и полностью уничтожить дизайнерскую задумку.Рулонные шторы или жалюзи крепят непосредственно на раму или в оконный проем, они хотя и выглядят просто, но не менее интересно, чем дорогие шторы или ламбрекены.Рулонные конструкции имеют удобный подъемный механизм, поэтому нашли свое применение как в офисах, так и в квартирах.
Поднимающиеся шторы своими руками. Для каких штор подходит
Вышеперечисленные конструкции применяются для различных типов занавесок, которые открываются вверх. Они имеют сталые параметры, не регулируются по ширине. Как правило, площадь полотна совпадает с размером оконного проема. Часто такие изделия называют плоскими шторами, поскольку в открытом состоянии они представляют собой ровную поверхность без складок и провисаний.

Использовать такие конструкции комфортно, они имеют красивый вид и способны дополнить любой дизайн комнаты.
Все подъемные занавески можно разделить на несколько больших групп:
- Рольшторы. Это по своей сути широкая полоса ткани, которая наматывается на вал, освобождая пространство. Ее легко передвигать вверх и вниз, оставлять в нужном положении.
Обратите внимание! Иногда потребители путают жалюзи, состоящие из тонких полосок, с рулонными шторами. Но это совершенно разная продукция. Последние являются более практичными и эффективными. Они не требуют мытья, не притягивают пыль в большом количестве, способны обеспечить более плотное и качественное затемнение в солнечные дни.
- Римские. Шторы состоят из отдельных горизонтальных секций, между которыми вставляются тонкие планки. Поднимаясь, полотно спадает равномерными складками по всей ширине.
- Английские. Эти модели похожи на предыдущую продукцию, но отличаются большей пышностью складок за счет дополнительных объемов ткани.
- Австрийские. Разделены на вертикальные секции, между которыми при поднятии образовываются волнообразные складки. Даже в спущенном состоянии полотно слегка собрано внизу.
- Французские. Похожи на австрийские модели, с одним отличием: они имеют больше мелких складочек.
Все эти занавески способны обеспечить надежную защиту помещения от прямых солнечных лучей, экономию места и дополнить внутренний дизайн интерьера. Их движение осуществляется с помощью разных конструкций, большинство из которых можно установить самостоятельно.

В декорировании окна они смотрятся очень изящно, создают оригинальный и неповторимый дизайн и привносят в помещение особый шарм.
Рулонные шторы своими руками из подручных материалов. Рулонные шторы своими руками. Изготовим сами.
Как сшить рулонную штору легко и дешево, смотрите в конце статьи подробный фото

Рулонные шторы являются альтернативой жалюзей и подойдут для интерьера, когда надо отгородить свою частную жизнь от посторонних взглядов: на кухне ,в спальне, а так же могут служить декоративными перегородками в самом помещении для разграничения его пространства. Из данной статьи вы узнаете, как своими руками можно изготовить рулонные шторы.
Их можно хорошо сочетать с постоянно открытыми легкими шторами и гардинами.
Рулонные шторы в большом многообразии продаются в соответствующих магазинах, но стоят не дешево и не всегда могут соответствовать желаемому нам цвету. Поэтому в данной статье пойдет речь о том как можно самим изготовить рулонную штору.
На такой шторе нет ни сборок , ни складок, поэтому рассчитать расход на нее ткани будет совсем не сложно.

Ткань желательно выбрать двухстороннюю , плотную, не пропускающую свет.

Для того, чтобы штора сворачивалась в рулон, в ее низ вставляют деревянную рейку или лучше-металлический прут диаметром от 1 до 2см., а верхний край штор уплотняют тесьмой для того, чтобы плотно прикрепить его степлером или маленькими гвоздиками к деревянной планке( брусу), которая служит карнизом. Так же для целей можно просто использовать ленту велкро.
рулонные шторы
рулонные шторы На рис.1 показан общий вид рулонной шторы:

Для изготовления рулонной шторы необходимо:
- 1. Плотная ткань, желательно двухсторонняя;
- 2. Деревянный планка или брус , который будет служить карнизом для шторы. Ширина шторы должна быть равна длине планки(бруса).
- 3. Деревянный или металлический прут диаметром от 1до 2-х см,
- длина прута на 2—3 см меньше ширины шторы.
- 4. Лента для крепления колец длиной 1 метр.
- 5. Два кольца диаметром, равным ширине ленты.
- 6. Нейлоновый шнур, длина шнура равна пяти длин шторы плюс одна ширина шторы.
- 7. Крючок для крепления шнура шторы в поднятом состоянии.
На рис. 2 показана выкройка рулонной шторы:
выкройка рулонной шторы
выкройка рулонной шторы Раскрой:
- Измерьте оконный проем.
- Ширина шторы равна ширине окна плюс 6 см на боковые швы
- (3 см с каждой стороны),
- Длина шторы равна высоте окна плюс шесть см на кулиску внизу шторы плюс 10 см припуска по верхнему краю.
- Можно к длине шторы добавить еще сантиметра три-пусть она окажется чуть длиннее -длину всегда можно срезать вверху шторы.
- Если придется стачивать по вертикали полотнище шторы, то лучше шов стачивания расположить по центу вертикальных оконных переплетов.
Порядок работы:
- 1. Если ширины ткани не хватает на всю ширину шторы, то стачайте выкроенные полотнища, сложив их лицевыми сторонами внутрь, шов разутюжьте, чтобы не было складок и заломов. Кроить штору в длину надо строго по долевой нити.
- 2. Разложите штору на горизонтальной поверхности. Мылом или мелом отметьте места , где должны быть пришиты кольца и линии подворота в соответствии со схемой на рис. 2 .
- 3. Обработайте боковые срезы. Отутюжьте их.
- 4. Отстрочите кулиску внизу шторы, сделав ее швом в подгибку, подвернув ткань два раза на 2 см.
- 5. От нижнего края кулиски, отмерьте длину штор, проведите линию по лицевой стороне шторы.
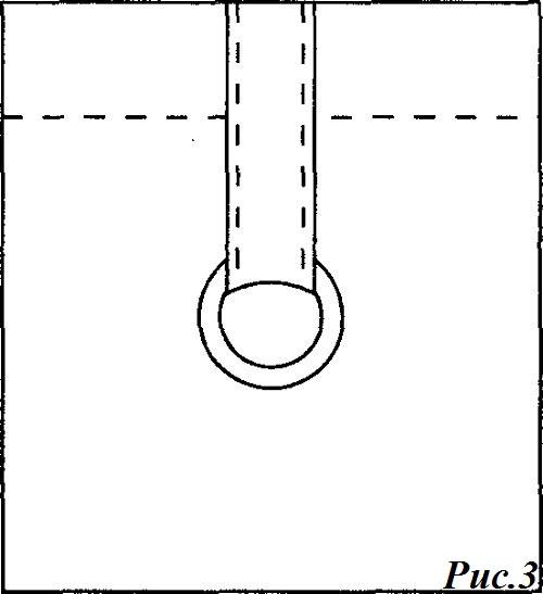
- 6. Приготовьте ленты для колец — два куска длиной по 16 см. Ширина ленты(или ткани) зависит от диаметра кольца.Сложите каждый кусок пополам, вложив в него кольцо. Сшейте ленту и пристрочите к верхнему краю шторы так, чтобы кольца располагались примерно на расстоянии 6—7 см от верха шторы и 20 см от краев рис 3.
Рис. 3. Крепление кольца с помощью ленты:

Если вы хотите получать прямо на почту новые статьи сайта, то
- 7. По линии, отмеченной вверху шторы пристрочите ленту велкро. Подверните край на изнанку. Пристрочите нижнюю часть ленты велькро уже по изнаночной стороне шторы.
- 8. Другую часть ленты велкро приклейте к деревянной планке, которая будет служить для шторы карнизом.
Как повесить рулонную штору :
- • Прикрепите штору на планку-карниз на ленту велкро, если не хотите возиться с лентой, можно просто прикрепить штору степлером к бруску.
- • Расположение лент с кольцами отметьте на изнаночной строне шторы, уже прикрепленной к нашему карнизу(планке), и в планкувверните крючки напротив каждого кольца (рис. 4 ) .
Рис. 4. Расположение крючков на изнаночной стороне шторы:

- • Теперь отрежьте шнур длиа которого должна равняться не менее пяти длин шторы плюс одна ширина шторы.
- • Выберите, на какую сторону удобнее вывести шнур — справа или слева. (например, на рис. 5 шнур слева).
Рис.5 Крепление шнура на рулонной шторе:
Рулонные шторы своими руками
Рулонные шторы своими руками - • Привяжите один конец шнура к левому (или правому) крючку(смотря какой вы выбрали). Положите штору лицевой стороной вверх и наполовину ее скатайте. Оберните свернутую штору шнуром, проденьте его через левое кольцо.
- • Оберните штору шнуром и свободный конец шнура привяжите ко второму крючку.
