Как сделать рулонные шторы из обоев. Инструкция по изготовлению жалюзи:
- Как сделать рулонные шторы из обоев. Инструкция по изготовлению жалюзи:
- Жалюзи из виниловых обоев своими руками. Жалюзи из обоев своими руками. Пошаговая инструкция с фото
- Рулонные шторы своими руками из подручных материалов. Рулонные шторы своими руками. Изготовим сами.
- Их можно хорошо сочетать с постоянно открытыми легкими шторами и гардинами.
- рулонные шторы
- На рис.1 показан общий вид рулонной шторы:
- Для изготовления рулонной шторы необходимо:
- На рис. 2 показана выкройка рулонной шторы:
- выкройка рулонной шторы
- Раскрой:
- Порядок работы:
- Рис. 3. Крепление кольца с помощью ленты:
- Как повесить рулонную штору :
- Как закрепить самодельные жалюзи. Жалюзи своими руками: простая инструкция по созданию вертикальных, горизонтальных и рулонных вариантов (125 фото)
- Рулонные шторы своими руками. Как изготовить рулонные шторы своими руками за пару часов: пошаговая инструкция
- Рулонные жалюзи из обоев. Почему вас это заинтересует
Как сделать рулонные шторы из обоев. Инструкция по изготовлению жалюзи:
1. Первое, что необходимо сделать, это произвести замер той части окна, которую следует закрыть от солнца. В процессе замера обязательно стоит учесть оконную ручку и мерить так, чтобы обойная штора не мешала ее свободному повороту.Замечание! Обои следует брать плотные, тогда срок эксплуатации жалюзи будет дольше.2. Далее нужно отмерить и отрезать необходимый кусок шпалеры. Ширину следует брать ту, которая получилась после измерения, а к длине прибавить около 40 см. Это делается для того, чтобы жалюзи не были короткими, поскольку впоследствии на загиб обоев длина уйдет.











Жалюзи из виниловых обоев своими руками. Жалюзи из обоев своими руками. Пошаговая инструкция с фото
Жалюзи из обоев придутся по душе всем экономным хозяйкам. Помимо приятной себестоимости, они еще и смотрятся шикарно, позволяют придать изюминку окну и вдохновить рукодельниц на декор. Сделать их в домашних условиях не составит труда, а результат превзойдет все ожидания, поэтому сегодня будет подробный мастер-класс по их изготовлению.

Декор с закругленным низом
Виды жалюзи
Что любопытно, этот вид штор стал известен еще в далеком семнадцатом виде и, конечно, использовались в странах, где солнышко очень жарко светит почти весь день. А точнее, они пришли к нам из Испании.
Сегодня уже есть два их вида:
- Вертикальные,
- Горизонтальные.
Вертикальные используются реже горизонтальных, но также смотрятся очень интересно.

Вертикальный тип жалюзи
По системе сборки изделия вышли разновидности: рулонные, римские шторы, плиссе и другие вариации декора окна.

Шторки — плиссе из обоев
Конечно, их использование приводит в первую очередь к решению функциональных задач: затенить комнату и создать препятствие палящим солнечным лучам, а потом уже к декоративным – украсить интерьер и окно.
Современные мастерицы придумали много вариаций стандартным алюминиевым и пластиковым жалюзи. Они создают шедевры из обоев, ткани, газетных трубочек, бамбука и других материалов, которые мне еще не известны.

Яркий декор окна
Поэтому сейчас так много идей и вариаций для творчества за совсем смешную цену.
Бумажные жалюзи: как выбрать материал
Мне очень понравилась идея изготовления таких шторок из обоев или бумаги, потому что они отлично держат форму и поражают обилием материала для творчества.
Особенно, учитывая небольшую стоимость материала, по сравнению с готовыми магазинным. Да и доступность их просто поражает: у кого не осталось пол рулона – рулон после ремонта? Валяется где-нибудь на антресолях или в кладовке и ждут своего часа. Так вот, этот час настал!
Первую шторку я советую сделать из имеющегося материала, а потом уже, набив руку, сбегать в магазин и приступить к созданию лицевого варианта.

Декорируем окна
Кстати, про магазин, не стоит высматривать подходящий материал на выставочных стендах, идите сразу к продавцам и спросите про акцию на оставшиеся некомплектные рулоны (которых осталось по минимуму).
Можно посчитать, что из 10 м обоев в рулоне выйдет около пяти заготовок.
Использовать можно любые типы обоев: бумажные, на флизелиновой основе. Бумажные обои более тонкие и позволяют не сильно затемнить комнату, да и работать с ними удобнее: они более легкие и хорошо держат форму.
Флизелиновые обои более богаты на расцветки и значительно плотнее, что позволяет создать хорошую светоизоляцию.

Выбор материала
Также определитесь по ширине материала: если окно не широкое, то можно купить рулон шириной 50 см, а, если у вас балконное окно, то лучше отдать предпочтение метровым экземплярам.
Жалюзи из обоев своими руками: пошаговая инструкция с фото
Итак, вы выбрали обои под цвет мебели, стен, штор, а может быть, скатерти. И начнем свой мастер-класс по изготовлению самодельных жалюзи.
Нам понадобятся:
- Рулон обоев,
- Шелковая нить, либо бельевая веревка,
- Двусторонний скотч,
- Линейка, карандаш, ножницы,
- Шило, дрель или дырокол,
- Фиксатор,
- Декор: ленты, бусинки, пайетки.
Первым делом, снимаем мерки с окна: длину и ширину.
Под ширину вы уже подобрали обои, а вот к длине прибавляем 30-40 сантиметров.
Так, из расчета, что окно в длину 1,40 м, то после прибавки припусков, нам нужна деталь 1, 80 м.

Затеняем окна на балконе
Отрезаем ножницами заготовку и выкладываем ее на пол.
Теперь нужно сделать гармошку. Делали такую в детстве? Лично я – да, поэтому основной процесс понятен.
На схеме ниже показана инструкция изготовления, где делаются два отверстия, а мы разберем пример с одним. Но кому-то этот вариант может показаться более интересным, поэтому его привожу здесь.

Схема с двумя отверстиями
Расстояние между складками 3,5 – 4 см. Меньше делать не стоит, иначе не получится вдеть в них веревку, мы просто можем порвать обои.
Чтобы получился ровный загиб, лучше использовать линейку.
Бумажные обои хорошо держат складку, а вот флизелиновые нужно подольше прогладить или сделать надрез с лицевой стороны канцелярским ножом. Не сильно, чтобы не прорезать материал.
Как гармошка будет готова, определяем ее середину, просто сложив пополам.
Рулонные шторы своими руками из подручных материалов. Рулонные шторы своими руками. Изготовим сами.
Как сшить рулонную штору легко и дешево, смотрите в конце статьи подробный фото

Рулонные шторы являются альтернативой жалюзей и подойдут для интерьера, когда надо отгородить свою частную жизнь от посторонних взглядов: на кухне ,в спальне, а так же могут служить декоративными перегородками в самом помещении для разграничения его пространства. Из данной статьи вы узнаете, как своими руками можно изготовить рулонные шторы.
Их можно хорошо сочетать с постоянно открытыми легкими шторами и гардинами.
Рулонные шторы в большом многообразии продаются в соответствующих магазинах, но стоят не дешево и не всегда могут соответствовать желаемому нам цвету. Поэтому в данной статье пойдет речь о том как можно самим изготовить рулонную штору.
На такой шторе нет ни сборок , ни складок, поэтому рассчитать расход на нее ткани будет совсем не сложно.

Ткань желательно выбрать двухстороннюю , плотную, не пропускающую свет.

Для того, чтобы штора сворачивалась в рулон, в ее низ вставляют деревянную рейку или лучше-металлический прут диаметром от 1 до 2см., а верхний край штор уплотняют тесьмой для того, чтобы плотно прикрепить его степлером или маленькими гвоздиками к деревянной планке( брусу), которая служит карнизом. Так же для целей можно просто использовать ленту велкро.
рулонные шторы
рулонные шторы На рис.1 показан общий вид рулонной шторы:

Для изготовления рулонной шторы необходимо:
- 1. Плотная ткань, желательно двухсторонняя;
- 2. Деревянный планка или брус , который будет служить карнизом для шторы. Ширина шторы должна быть равна длине планки(бруса).
- 3. Деревянный или металлический прут диаметром от 1до 2-х см,
- длина прута на 2—3 см меньше ширины шторы.
- 4. Лента для крепления колец длиной 1 метр.
- 5. Два кольца диаметром, равным ширине ленты.
- 6. Нейлоновый шнур, длина шнура равна пяти длин шторы плюс одна ширина шторы.
- 7. Крючок для крепления шнура шторы в поднятом состоянии.
На рис. 2 показана выкройка рулонной шторы:
выкройка рулонной шторы
выкройка рулонной шторы Раскрой:
- Измерьте оконный проем.
- Ширина шторы равна ширине окна плюс 6 см на боковые швы
- (3 см с каждой стороны),
- Длина шторы равна высоте окна плюс шесть см на кулиску внизу шторы плюс 10 см припуска по верхнему краю.
- Можно к длине шторы добавить еще сантиметра три-пусть она окажется чуть длиннее -длину всегда можно срезать вверху шторы.
- Если придется стачивать по вертикали полотнище шторы, то лучше шов стачивания расположить по центу вертикальных оконных переплетов.
Порядок работы:
- 1. Если ширины ткани не хватает на всю ширину шторы, то стачайте выкроенные полотнища, сложив их лицевыми сторонами внутрь, шов разутюжьте, чтобы не было складок и заломов. Кроить штору в длину надо строго по долевой нити.
- 2. Разложите штору на горизонтальной поверхности. Мылом или мелом отметьте места , где должны быть пришиты кольца и линии подворота в соответствии со схемой на рис. 2 .
- 3. Обработайте боковые срезы. Отутюжьте их.
- 4. Отстрочите кулиску внизу шторы, сделав ее швом в подгибку, подвернув ткань два раза на 2 см.
- 5. От нижнего края кулиски, отмерьте длину штор, проведите линию по лицевой стороне шторы.
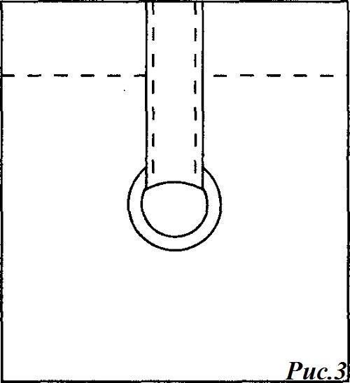
- 6. Приготовьте ленты для колец — два куска длиной по 16 см. Ширина ленты(или ткани) зависит от диаметра кольца.Сложите каждый кусок пополам, вложив в него кольцо. Сшейте ленту и пристрочите к верхнему краю шторы так, чтобы кольца располагались примерно на расстоянии 6—7 см от верха шторы и 20 см от краев рис 3.
Рис. 3. Крепление кольца с помощью ленты:

Если вы хотите получать прямо на почту новые статьи сайта, то
- 7. По линии, отмеченной вверху шторы пристрочите ленту велкро. Подверните край на изнанку. Пристрочите нижнюю часть ленты велькро уже по изнаночной стороне шторы.
- 8. Другую часть ленты велкро приклейте к деревянной планке, которая будет служить для шторы карнизом.
Как повесить рулонную штору :
- • Прикрепите штору на планку-карниз на ленту велкро, если не хотите возиться с лентой, можно просто прикрепить штору степлером к бруску.
- • Расположение лент с кольцами отметьте на изнаночной строне шторы, уже прикрепленной к нашему карнизу(планке), и в планкувверните крючки напротив каждого кольца (рис. 4 ) .
Как закрепить самодельные жалюзи. Жалюзи своими руками: простая инструкция по созданию вертикальных, горизонтальных и рулонных вариантов (125 фото)
Жалюзи на окна имеют огромную популярность. Они обладают рядом преимуществ, благодаря которым снискали известность среди покупателей: лёгкий и быстрый монтаж; приемлемая цена; простота эксплуатации; долгий срок службы.
Занавески подобного рода очень часто можно встретить как в офисе, так и в обычной квартире. Если у вас появилась необходимость подобрать шторы под определённый интерьер, то помимо покупки новой «одежды для окон» существует и другой вариант: сделать её самостоятельно. Это позволит вам реализовать творческий потенциал, а также приобрести вещь, соответствующую всем вашим предпочтениям.

Виды
Существует много типов солнцезащитных конструкций, но самыми простыми для самостоятельной сборки являются только три:
- горизонтальные;
- вертикальные;
- рулонные.

Мастерим своими руками
Горизонтальные жалюзи
Горизонтальные жалюзи на окна являются самыми простыми для самостоятельного изготовления. Их можно сделать из обоев. Первое, что нужно сделать – измерить оконный проём и определиться, будут ли шторы закрывать всё отверстие или только половину. Всё зависит от ваших предпочтений.
Затем необходимо отрезать ровный и нужной длины кусок обоев. Учтите, что вам предстоит складывать из них гармошку, так что к изначальной длине прибавьте ещё тридцать сантиметров.

Ширину складок не следует делать слишком узкой. Рекомендуемый масштаб: от трёх до шести сантиметров. Помните, что нижний загиб должен представлять собой последнюю ступень.

Далее складываем гармошку и с помощью дырокола проделываем отверстие в центре, через которое пропускаем шнур и сверху завязываем узелок, обклеив его двусторонним скотчем.

Нижние края самодельных жалюзи на окна советуют склеивать, предварительно аккуратно их выправив. Это делается для того, чтобы обе стороны занавесок дольше сохраняли презентабельный вид. В противном случае они будут всё время перевешивать друг друга.

Далее крепим на шнур фиксатор и заглушку – необходимые атрибуты для функционирования штор. Завершённое изделие приклеиваем к верхней части окна посредством двустороннего скотча.

Вертикальные жалюзи
Вертикальные жалюзи смастерить в домашних условиях будет сложнее. Дощечки могут быть из пластика, стеклообоев или дерева. Для этого вам понадобятся: резьбовые крючки, сверла, шнур, клей, специальная фурнитура: направляющие и ползунки.
Учтите, что ширина пластин должна составлять не более двенадцати сантиметров.
На верхней и нижней сторонах получившихся отрезков фиксируем специальные панели. К верхним крепим крючки с резьбой. Далее сверху на пластинах в одном и том же месте необходимо просверлить отверстия, благодаря которым конструкция будет держаться.

Готовые проколы рекомендуется смазать надёжным клеем и пропустить через них шнур. Это позволит пластинам зафиксироваться в одном положении, что будет очень удобно при дальнейшем использовании штор. Также благодаря этому действию в дальнейшем элементы солнцезащитной системы будут поворачиваться.

Для монтажа дощечек применяются направляющие из алюминия или пластика, на которые насаживаются особые ползунки, а к ним прикрепляются готовые отрезки занавесок посредством крючков с резьбой.

Запомните, что длина шнура должна быть на двадцать или тридцать сантиметров больше, чем длина всей системы. Это необходимо для петли, с помощью которой можно будет управлять конструкцией.

Особой сложностью изготовления в домашних условиях отличаются деревянные жалюзи. Для их самостоятельной сборки понадобится много инструментов, а также терпения и таланта. Если вы пожелали сделать именно такие шторы, то лучше обратиться к мастеру или попросить у него помощи при сборке.

Рулонные жалюзи
Рулонные жалюзи можно смастерить, обладая базовыми умениями швеи. Безусловно, это простой способ сделать очень красивые шторы своими руками.
Материал советуют выбирать из таких видов ткани, которые обработаны антистатическими и антибактериальными веществами. Тогда вам будет легче ухаживать за занавесками, а также это защитит вас от пыли и возбудителей аллергии, копящимся в воздухе комнаты.

Рулонные шторы своими руками. Как изготовить рулонные шторы своими руками за пару часов: пошаговая инструкция
Для изготовления рулонных штор своими руками требуется минимальное количество ткани и при этом получается красивое стильное и максимально функциональное изделие. Такой шторой можно закрыть не только окно, но и стеклянную дверь или использовать в качестве оригинальной дверцы для небольшого шкафчика.

Для того чтобы сшить рулонные шторы своими руками нам потребуется:
- швейная машинка;
- два куска однотипной, но разной по дизайну ткани;
- два деревянных бруска шириной примерно 2 и 1 см и длиной равной ширине готовой занавески;
- пять шурупов-колец.;
- три шурупа-крючка;
- шуруповерт;
- шнур, тесьма или лента для подъема и опускания шторы;
- ножницы, сантиметр, нитки, карандаш.
Наша рулонная штора будет крепиться на оконном проеме. В развернутом виде она должна на 10-12 см выходить за его границы в ширину, а в длину спускаться до подоконника. Исходя из этого, делаем замеры. К полученным результатам прибавляем 3см к ширине для припусков на боковые швы и 10 см к длине, учитывая то, что штору будем закреплять на высоте 7 см над окном.
Если рольштора устанавливается над верхним откосом оконного проема, ее размер должен быть шире, чем проем как минимум на 10 см и более.
В качестве примера возьмем стандартный оконный проем шириной 146 см и высотой 140 см. Значит нужно выкроить два прямоугольных куска ткани (поскольку планируется шить двойную занавеску) шириной 149 и длиной минимум 150 см или больше. Кстати, если ширина ткани 150 см, совсем необязательно обрезать рулонную штору на этот лишний сантиметр. Просто выкраиваем квадрат 150Х150см. Если же ширина приглянувшейся вам материи меньше полутора метров, придется сшивать занавеску из 4 отрезов (2 для лицевой стороны и 2 для изнаночной), а центральные швы оформить декоративной лентой или тесьмой.
Шаг 1: Шьем штору
Куски материи совмещаем лицевыми сторонами и сшиваем с боковых сторон и сверху, отступив от краев на 1,5см. Нижний край оставляем незашитым. Выворачиваем изделие на лицевую сторону, подгибаем нижний край внутрь на 1,5 см, прострачиваем и хорошенько утюжим то, что получилось с обеих сторон.
Теперь нам необходимо сшить «кармашки» для утяжелительной и крепежной планок. Для этого решаем, какая сторона занавески будет лицевой (смотрящей в комнату), а какая изнаночной и раскладываем ее на ровной поверхности изнаночной стороной наверх. Затем подгибаем верхний край на 3 см, нижний на 1,5 см, прострачиваем и вставляем планки: ту, что шире в верхний кармашек, а ту, что уже в нижний.
Шаг 2: Вкручиваем шурупы-кольца
В верхнюю (крепежную) планку на расстоянии 10 см от краев сквозь ткань вкручиваем шурупы-кольца (два сверху и два под ними с лицевой стороны). Пятый шуруп вкручиваем также с лицевой стороны, с одного края, отступив от него на расстояние 5 см.
Шаг 3: Закрепляем подъемные шнуры
Чтобы свернуть рольштору, нужны шнуры. Какими они будут, зависит только от вашей фантазии: обычный шнур, капроновая лента, декоративная тесьма, лента, сделанный из ткани контрастного к шторам цвета. Перед тем как обрезать их на нужную длину производим нехитрые расчеты. Длина первого шнура равна длине шторы, умноженной на три. Длина второго шнура точно такая же плюс еще половина длины шторы. В нашем случае это будет 450 см и 525 см.
Продеваем оба шнура в кольца-шурупы на верхней планке и закрепляем, как показано на рисунке. При этом шнур, имеющий большую длину нужно привязать к кольцу, расположенному дальше от отдельного, пятого бокового шурупа.
Шаг 4: Штора и оригинальный подъемный механизм готовы
Опускаем оба шнура по изнанке стороне нашей шторы, через низ заводим на лицевую сторону, пропускаем через все три вкрученные на ней кольца и связываем вместе.
Шаг 5: Устанавливаем штору на окне
Перед тем как повесить нашу замечательную штору, над оконным проемом нужно ввернуть два крючка-шурупа. Главное ― вкрутить их так, чтобы они располагались точно напротив верхних колец, закрепленных на крепежной планке. Такой же принцип можно использовать и для того, чтобы сделать не только шторы, но и жалюзи своими руками.
Для этого прикладываем штору к проему над окном и карандашом отмечаем места, где должны быть крючки-шурупы, вкручиваем их и подвешиваем штору. Сбоку от окна желательно ввернуть еще один крючок, за который будет удобно перекидывать шнуры, когда штора поднята, тем самым предотвращая их запутывание.
Рулонные жалюзи из обоев. Почему вас это заинтересует
Итак, когда первый шок от заявления о том, что из обоев или газет можно сделать интересные шторы прошел, расскажу о таком необычном решении подробнее.
Занавески из подручных материалов обладают некоторыми явными преимуществами:
- Во-первых, это, конечно же, их цена. Те же жалюзи пусть даже из дорогих обоев обойдутся дешевле, чем готовое изделие в магазине.
Жалюзи из обоев – то, о чем говорят «дешево и сердито»
- Их создание занимает не больше двух часов времени. Согласитесь, это не так много.
- У вас появляется возможность сделать сразу несколько вариантов оконного обрамления и менять их при желании без лишних финансовых затрат.
Кто может отказаться о возможности менять декор по своему усмотрению?
- Создание занавесок своими руками – это увлекательно. Можно привлечь к такому творческому процессу кого-то из родных и весело провести время.
Даже если вы не занимались ранее рукоделием – самодельные жалюзи будут вам по плечу
- Если вы решите сделать жалюзи из качественных обоев, то вам не придется переживать об уходе за ними. Современные материалы обрабатываются специальными пропитками, отталкивающими пыль и грязь, так что с уборкой проблем не возникнет.
Самодельные жалюзи не слишком долговечны, зато вы сможете часто их менять
Долговечности от подобной драпировки ожидать не приходится (все-таки это шторы из бумаги). Уже где-то через год вам придется заменить занавески другими. Но мне кажется, это не самое большое неудобство за столь бюджетный вариант.