Рулонные шторы на окна своими руками. Достоинства и недостатки
- Рулонные шторы на окна своими руками. Достоинства и недостатки
- Римские шторы на пластиковые окна своими руками. Что представляют собой римские шторы
- Рулонные шторы своими руками: пошаговая инструкция. Рулонные шторы: как легко сделать их своими руками
- Шторы на пластиковые окна своими руками. Подготовка полотна
- Механизм для рулонных штор своими руками. Механизм рулонных штор своими руками: особенности создания
- Рулонные шторы из обоев своими руками. Занавеска из обоев – пошаговая инструкция с фото
- Рулонные шторы своими руками из подручных материалов. Рулонные шторы своими руками. Изготовим сами
- Их можно хорошо сочетать с постоянно открытыми легкими шторами и гардинами.
- рулонные шторы
- На рис.1 показан общий вид рулонной шторы:
- Для изготовления рулонной шторы необходимо:
- На рис. 2 показана выкройка рулонной шторы:
- выкройка рулонной шторы
- Раскрой:
- Порядок работы:
- Рис. 3. Крепление кольца с помощью ленты:
- Как повесить рулонную штору :
- Рулонные шторы своими руками на липучке. Разновидности фасонов штор на липучке
Рулонные шторы на окна своими руками. Достоинства и недостатки
Прежде чем приступать к созданию интерьерного шедевра своими руками, стоит внимательно изучить конструкцию, разобраться с ее сильными и слабыми сторонами, чтобы определиться: станет ли такая модель подходящей именно в вашем случае.

Рулонные шторы вписываются в любой современный интерьер.
Достоинства:
- Существенная экономия пространства. По сравнению с многоуровневыми шторами, рулонные занимают минимум места.
- Максимальная практичность. Несмотря на скромные габариты, именно рулонные шторы обеспечивают надежную защиту от ярких солнечных лучей и посторонних взглядов.
- Рулонные шторы не мешают открыванию и закрыванию окон или балконных дверей, в отличие от объемных портьер и тюля.
- Есть варианты использования рулонных штор: самостоятельно или в комплекте с обычными портьерами и тюлем.
- Разнообразие моделей позволяет выбрать подходящий вариант для любого интерьерного решения.
- Поскольку материала на такие шторы уходит совсем немного, вам обеспечена серьезная финансовая экономия.
- Простая система управления конструкцией.
- Большой ассортимент материала, из которого можно изготовить рулонные полотна.
- Простота монтажа и ухода.

Рулонные шторы не требуют дополнительного оформления в виде других занавесок.
Недостатки:
- Не всегда получается точно регулировать поток света, когда речь идет о частичном открытии (закрытии) окна.
- Если штора не имеет прозрачных вставок, то нет возможности создать в помещении мягкий полумрак.
- Встречаются недорогие модели, механизм которых быстро дает сбой.
- Если одна штора внушительных размеров используется для большого окна, возможны перекосы при открывании и закрывании.

Рулонные шторы подходят ля разных стилей помещений.
Римские шторы на пластиковые окна своими руками. Что представляют собой римские шторы
Римская штора – полотно небольшого размера, которое закрывает окно в пределах рамы. Она имеет механизм подъема, поэтому штору можно поднимать или опускать при необходимости: закрывать окно от знойного солнца или, наоборот, пускать в комнату солнечный свет.
При подъеме штора ложится горизонтальными складками.
По одной из легенд в строящемся Древнем Риме такими шторами из тяжелой плотной и мокрой ткани придумали закрывать окна от пыли, которая летела от строительного материала и камня, а потом они пригодились и для защиты от палящих лучей. Но вместе с тем возникла необходимость приподнимать их, чтобы впустить воздух и проветрить комнату.
По другой легенде идея штор пришла от римских мореплавателей, по такому же принципу подъема и опускания тогда делали паруса.
В наше время римские шторы- очень модный элемент интерьера. Это сочетание мягкости ткани и функциональности жалюзи. Модные шторы вешают не только на кухне и в ванной, небольших помещениях с узкими окнами, но и в просторных гостиных с большими окнами из пластика. В последнем случае используют либо одну широкую штору, либо несколько маленьких. Лично мне вариант из нескольких шторок больше импонирует.
Римские шторы шьют из разных тканей – однотонных и с рисунком, в цветочек и полоску, плотных и полупрозрачных, со сложным плетением. Иногда нижний край дополнительно декорируют.
Шторы могут крепиться как внутри оконного проема близко к стеклу, так и по внешней стороне окна. Образцы вы можете увидеть на фото.

Их вешают отдельно сами по себе или вместе с классическими портьерами и тюлем.
Считается, что все, что модно – дорого. Но для нас – рукодельниц нет ничего невозможного. И вполне можно сшить римские шторы самим.
Римские шторы на окна своими руками или на дверной проем делают одинаково.
Рулонные шторы своими руками: пошаговая инструкция. Рулонные шторы: как легко сделать их своими руками
Рулонная штора, как ее еще называют рольштора – это тканевая ролета на окне, защищающая от солнечных лучей. Она представляет собой прямоугольный фрагмент ткани, которая скручивается в трубочку, открывая доступ свету из окна. Если зайти в специализированный магазин, то глаза разбегаются от изобилия рулонных штор, выбрать можно любые, но если вы ограничены в средствах или имеете собственную дизайнерскую задумку, то пошаговая инструкция по изготовлению такого элемента декора вас очень выручит.
Как нужно выбрать ткань
Ткань для ролет должна быть:
- пылеотталкивающей;
- влагоотталкивающей;
- антибактериальной;
- светонепроницаемой (или светоотражающей).

Рулонные шторы — «магазинный» вариант
Эти качества ткань приобретает после использования специальной пропитки.
Совет. Выбирая ткань с поперечными полосами, вы зрительно увеличите ширину стены, а вертикальный рисунок сделает ваши потолки выше.
Цвет и рисунок на ткани следует подбирать под интерьер помещения. Можно использовать однотонную ткань, контрастирующую по цвету с обоями в комнате, тогда рулонная штора послужит интересным цветовым акцентом. Отдавая предпочтение полупрозрачной ткани с рюшами, вы создадите иллюзию витражных окон.
Совет. Если окна смотрят на юг, то создать прохладную обстановку помогут шторы холодной гаммы (синие, зеленые, лиловые). Северные комнаты будут теплее с оранжевыми, красными и желтыми оттенкам рулонных штор.
Если вы еще не определились с выбором рулонной шторы для своего дома, вас всегда выручит наш сайт. Просмотрев фото разнообразных вариантов рулонных штор, вы обязательно найдете что-нибудь свое.
Раскрой ткани для рулонных штор
В случае когда штора будет крепиться в оконном проеме, замеряем сам проем. Если же к раме, вплотную к стеклу, — то замеряют размер стекла. После замеров кроим ткань так:
- по ширине проема или стекла, плюс 3 см на припуск;
- по длине отмеряем высоту проема или стекла, плюс 15 см для припуска и «кармана».

Необходимы замеры при изготовление рулонных штор
Для одного окна делаем два полотна одинакового размера. Выбираем ленты для подвязок. Их длина должна составлять — две длины штор, плюс 20-25 см. Можно сделать механизм подъема с помощью двух нейлоновых шнуров: первый длиною в три полотна, второй — три длины полотна плюс ширина изделия.
Инструменты для работы
- две рейки по длине проема или стекла;
- швейная машинка;
- шуруповерт;
- шурупы;
- двухсторонний скотч.

Фиксация и крепление рулонных штор
Для первой пошаговой инструкции дополнительно понадобится:
- степлер для мебели;
- ленты.
Для второй пошаговой инструкции
- ленты;
- два пластиковых кольца;
- два нейлоновых шнура.
Пошаговая инструкция: создаем шторы с лентой-подвязкой
- Шаг №1. Получившиеся в результате раскройки полотна сшиваем с изнаночной стороны по длине и лишь с одной стороны по ширине. Должен получиться мешок. Его мы выворачиваем и утюгом выглаживаем все швы.
- Шаг №2 . Берем утяжелитель (в нашем случае это рейка) и аккуратно подворачиваем одну часть незастроченного края, делая кармашек, в котором будет находиться рейка. Зашиваем оставшуюся часть шторы (верх мешка). Низ шторы готов.

Рулонные шторы с лентой
- Шаг №3 . Верхнюю часть крепим с помощью мебельного степлера к оставшемуся бруску.
- Шаг №4 . Заранее приготовленные ленты-подвязки, предназначенные для удерживания свернутого рулона штор, крепим к верхнему бруску, сделать это можно степлером. Должна получиться лента, свисающая с внешней и внутренней стороны.
Рольштора готова, остается только закрепить ее на окне, закрутить нижнюю часть с утяжелителем до нужной длины и зафиксировать низ шторы лентами.
Пошаговая инструкция: создаем шторы с боковым шнуром
- Шаг №1 . Полотна сшиваем с изнаночной стороны по длине. Делаем карман сверху и снизу.
- Шаг №2. В нижний карман вставляем рейку и фиксируем ее там, а с верхней стороны пришиваем пластиковые кольца на ленты. С краев следует отступить по 15 см, а пришивать приблизительно на расстоянии 5 см от верхнего края.
- Шаг №3 . Чтобы сделать механизм для поднятия такой шторы, следует ее зафиксировать на окне или в оконном проеме на крючки.

Рулонные шторы с боковым шнуром
- Шаг №4. Первый нейлоновый шнур (меньшего размера) привязать к крючку и пропустить через карман с рейкой. Продеть его через кольцо.
- Шаг №5 . Второй шнур (который длиннее) фиксируется аналогично, только он должен последовательно проходить через два кольца.
- Шаг №6. Нейлоновые шнуры собираются и скрепляются. Теперь при их натяжении штора за счет противовеса будет закручиваться. Фиксируются шнуры на стене.
Монтируются рулонные шторы просто. Если планируете прикрепить их на пластиковую раму, используйте хороший широкий двухсторонний скотч, а если такая штора будет висеть в проеме окна, то закрепить ее можно с помощью шурупов и шуруповерта.



Шторы на пластиковые окна своими руками. Подготовка полотна
После определения вида ткани необходимо сделать замеры и определить нужный размер материала. Когда крепления для рулонных штор на пластиковые окна своими руками устанавливаются на саму раму, то замеряют размеры стекла. Если установка выполняется на оконный проём, то сначала на стене ставятся отметки предполагаемого размещения полотна. После этого выполняются замеры.
К полученным размерам необходимо прибавить на припуски:
- по 2 см с каждой стороны к ширине для сшивания.
- до 15 см к длине для утяжелителей и штанги.
Если ткань с односторонним рисунком, то надо подготовить 2 отреза по полученным размерам для лицевой стороны и изнанки. Ткань может иметь разных расцветок с двух сторон. Одно полотно может быть сшито из нескольких отрезов. Для подвязок можно использовать различные ленты, декоративные шнуры или сшитую лентой ткань. Их длина высчитывается складыванием двух длин штор и 25 см на завязку.
На ткани размеры отмечают мелом или кусочком мыла. Отрезать лучше швейными или новыми ножницами, чтобы не испортить ткань затяжками и рваными краями. Полотна складываются лицевыми сторонами внутрь, сметать верх и боковые стороны. Сшить половинки можно на швейной машинке или вручную. Затем изделие выворачивается, и заутюживаются швы. Если полотно имеет большие размеры по ширине, то следует следить, чтобы шов приходился на переплёт рамы. Эта мера сделает его практически незаметным.
Верхняя часть полотна уплотняется пришиванием тесьмы. Эта мера позволит прикрепить штору мебельным степлером или маленькими гвоздиками к деревянному бруску. Плотная тесьма убережёт ткань от порывов под нагрузками от утяжелителей при управлении.
Механизм для рулонных штор своими руками. Механизм рулонных штор своими руками: особенности создания
Создание рулонных штор своими руками — задача, которую может выполнить любой домашний мастер.
Схема вставки утяжелителя.
Подъемный механизм, который используется в указанной конструкции, выполнен в виде вала, поднятие или опускание штор происходит за счет его вращения.
Такие шторы своими руками — задача несложная и интересная, чтобы ее выполнить, надо приобрести необходимые материалы и инструменты.
Использование рулонных конструкций с подъемным механизмом в любой комнате может преобразить ее до неузнаваемости и позволит решать самые разнообразные дизайнерские решения. Но при установке рулонных штор необходимо учитывать все нюансы, так как вы можете как сделать дизайн стильным, так и полностью уничтожить дизайнерскую задумку.
Рулонные шторы или жалюзи крепят непосредственно на раму или в оконный проем, они хотя и выглядят просто, но не менее интересно, чем дорогие шторы или ламбрекены.
Рулонные конструкции имеют удобный подъемный механизм, поэтому нашли свое применение как в офисах, так и в квартирах.
Преимущества рольштор
Указанные элементы оборудованы удобным подъемным механизмом, они могут быть использованы самостоятельно или вместе с другими элементами оформления окон. Такую конструкцию можно установить и на пластиковые, и на деревянные окна. Они плотно закрывают окно, и за ними просто ухаживать.
Схема крепление подвязок.
Данная конструкция имеет простой подъемный механизм, поэтому он не выходит из строя в процессе использования таких штор. При правильной установке они позволяют полностью затемнить комнату, существует широкий выбор цветовых решений.
Некоторые люди путают римские и рулонные шторы. Они похожи по своему внешнему виду, но римские шторы собираются при помощи системы шнуров, а рулонные шторы имеют подъемный механизм в виде штанги, которая вращается и располагается вверху конструкции.
Типы и виды рольштор
Конструкция вала может быть открытой или закрытой, для простоты управления шторами может использоваться электромотор.
Рулонные конструкции могут быть с кассетами или без, мансардными или в виде рольштор. По принципу управления они могут регулироваться вручную при помощи цепочки или электроприводом. Различают такие конструкции и по используемому материалу, это могут самые разные виды ткани.
Особенности создания рулонных конструкций своими руками
Рассмотрим пример создания такой конструкции своими руками, при этом ролл будет находиться внизу, а на нужной высоте полотно фиксируется при помощи лент.
Сначала проводят замеры окна, на которое будет крепиться указанная занавеска. Ширина ткани должна быть больше указанного размера на 2-4 см, длина должна быть больше на 5-15 см. В зависимости от того, в какой комнате вы будете устанавливать данную конструкцию, делают выбор ткани и ее рисунка.
Для работы вам понадобится:
- два куска ткани необходимого размера;
- ленты, которые будут использоваться в качестве подвязок, они должны быть в два раза длиннее шторы + 30 см;
- деревянный брус или труба для крепления, их ширина должна быть на 1 см меньше ширины занавески, можно приобрести уже готовую кассетную систему;
- прут или планка для утяжеления;
- шуруповерт и шурупы;
- степлер;
Порядок выполнения работ
Складываем два куска ткани изнаночной стороной и сшиваем с трех сторон, после этого полученный мешок выворачиваем. Теперь надо вставить утяжелитель, или для него можно сделать специальный кармашек.
Проглаживают готовое полотно и степлером прибивают его к деревянному бруску, если используется труба, то ткань оборачивается вокруг нее и прошивается. Подвязки складываются пополам и также фиксируются на бруске при помощи скоб. После этого проводим крепление бруса к оконной раме.
Сверху брус необходимо задекорировать. Если планируется снимать штору, то крепить ее можно на специальные крючки. Для крепления на пластиковое окно надо использовать двусторонний скотч. Изготовление рулонных конструкций — увлекательный процесс, для этого не надо иметь специальные знания или материалы, а в результате вы получите красиво оформленное окно.
Рулонные шторы из обоев своими руками. Занавеска из обоев – пошаговая инструкция с фото
Самодельные бумажные жалюзи и шторы могут быть разных видов: рулонные, римские. Этот мастер-класс рассказывает о том, как сделать жалюзи плиссе для пластиковых или деревянных окон своими руками из остатков флизелиновых обоев, используя совсем немного инструментов и материалов.
Пред тем как приступить к работе, собираем необходимый минимум из следующего списка. Нам понадобится:
- Обои.
- Ножницы или канцелярский нож.
- Линейка и карандаш.
- Двухсторонний скотч.
- Веревка.
- Рулетка.
- Дырокол или шило.
Затем пошагово выполняем нижеперечисленные действия, которые представлены поэтапно и дополнены фото для наглядности.
Шаг 1
Используя рулетку, замеряем раму окна (если рама распашная с ручкой, замер производится до основания ручки) или сам стеклопакет, на который планируется установить изготавливаемые жалюзи.

Замер стеклопакета по внутренней кромке штапика.
Шаг 2
Разворачиваем рулон на ровной поверхности, отмеряем нужную длину и прочерчиваем перпендикулярную линию, по которой и обрезаем. Учтите, что длина отрезаемого обойного полотна с учетом складок на изготавливаемых жалюзи должна быть на 25-27% больше высоты промеренного окна.
Пример: во время замера получилось 130 см, следовательно, обои отрезаем длинной 162-165 см



Шаг 3
Обрезанное полотно по всей длине с двух сторон размечаем симметричными друг другу, рисками для будущей гофры. Как правило, ширина каждой полосы варьируется в пределах 3-5 см, но можно не придерживаться этой рекомендации и сделать ее немного шире. Затем складываем по размеченным линиям «гармошку» как показано на фотографиях.
Совет для ленивых: можно не размечать полотно, а просто подгонять все последующие сгибы под ширину второй складки. Главное проследить, чтобы все складки были одинакового размера, кроме самой первой, на которой будет подвешиваться штора. Ее ширина рассчитывается из ширины двухстороннего скотча, который мы используем, плюс 1-1,5 см допуска.




Шаг 4
После того как «гармошка» собрана, отмеряем середину ширины и отмечаем это место по всей толщине проведя линию сверху вниз, как показано на фотографиях. Линию прочерчиваем по той стороне, где нет рисунка, с этой же изнаночной стороны дыроколом будем проделывать отверстия. Можно «дырявить» и шилом, но при помощи дырокола отверстия получаются более ровными и эстетичными. Отступ от края до прокола в любом случае должен быть 8-10 мм.





Шаг 5
В подготовленные отверстия продеваем направляющую веревку.

Рулонные шторы своими руками из подручных материалов. Рулонные шторы своими руками. Изготовим сами
Как сшить рулонную штору легко и дешево, смотрите в конце статьи подробный фото

Рулонные шторы являются альтернативой жалюзей и подойдут для интерьера, когда надо отгородить свою частную жизнь от посторонних взглядов: на кухне ,в спальне, а так же могут служить декоративными перегородками в самом помещении для разграничения его пространства. Из данной статьи вы узнаете, как своими руками можно изготовить рулонные шторы.
Их можно хорошо сочетать с постоянно открытыми легкими шторами и гардинами.
Рулонные шторы в большом многообразии продаются в соответствующих магазинах, но стоят не дешево и не всегда могут соответствовать желаемому нам цвету. Поэтому в данной статье пойдет речь о том как можно самим изготовить рулонную штору.
На такой шторе нет ни сборок , ни складок, поэтому рассчитать расход на нее ткани будет совсем не сложно.

Ткань желательно выбрать двухстороннюю , плотную, не пропускающую свет.

Для того, чтобы штора сворачивалась в рулон, в ее низ вставляют деревянную рейку или лучше-металлический прут диаметром от 1 до 2см., а верхний край штор уплотняют тесьмой для того, чтобы плотно прикрепить его степлером или маленькими гвоздиками к деревянной планке( брусу), которая служит карнизом. Так же для целей можно просто использовать ленту велкро.
рулонные шторы
рулонные шторы На рис.1 показан общий вид рулонной шторы:

Для изготовления рулонной шторы необходимо:
- 1. Плотная ткань, желательно двухсторонняя;
- 2. Деревянный планка или брус , который будет служить карнизом для шторы. Ширина шторы должна быть равна длине планки(бруса).
- 3. Деревянный или металлический прут диаметром от 1до 2-х см,
- длина прута на 2—3 см меньше ширины шторы.
- 4. Лента для крепления колец длиной 1 метр.
- 5. Два кольца диаметром, равным ширине ленты.
- 6. Нейлоновый шнур, длина шнура равна пяти длин шторы плюс одна ширина шторы.
- 7. Крючок для крепления шнура шторы в поднятом состоянии.
На рис. 2 показана выкройка рулонной шторы:
выкройка рулонной шторы
выкройка рулонной шторы Раскрой:
- Измерьте оконный проем.
- Ширина шторы равна ширине окна плюс 6 см на боковые швы
- (3 см с каждой стороны),
- Длина шторы равна высоте окна плюс шесть см на кулиску внизу шторы плюс 10 см припуска по верхнему краю.
- Можно к длине шторы добавить еще сантиметра три-пусть она окажется чуть длиннее -длину всегда можно срезать вверху шторы.
- Если придется стачивать по вертикали полотнище шторы, то лучше шов стачивания расположить по центу вертикальных оконных переплетов.
Порядок работы:
- 1. Если ширины ткани не хватает на всю ширину шторы, то стачайте выкроенные полотнища, сложив их лицевыми сторонами внутрь, шов разутюжьте, чтобы не было складок и заломов. Кроить штору в длину надо строго по долевой нити.
- 2. Разложите штору на горизонтальной поверхности. Мылом или мелом отметьте места , где должны быть пришиты кольца и линии подворота в соответствии со схемой на рис. 2 .
- 3. Обработайте боковые срезы. Отутюжьте их.
- 4. Отстрочите кулиску внизу шторы, сделав ее швом в подгибку, подвернув ткань два раза на 2 см.
- 5. От нижнего края кулиски, отмерьте длину штор, проведите линию по лицевой стороне шторы.
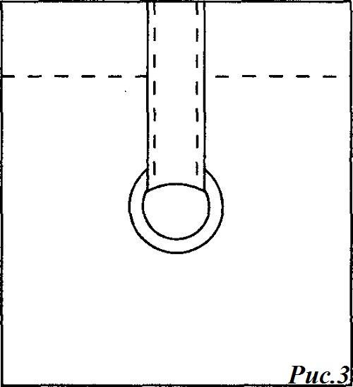
- 6. Приготовьте ленты для колец — два куска длиной по 16 см. Ширина ленты(или ткани) зависит от диаметра кольца.Сложите каждый кусок пополам, вложив в него кольцо. Сшейте ленту и пристрочите к верхнему краю шторы так, чтобы кольца располагались примерно на расстоянии 6—7 см от верха шторы и 20 см от краев рис 3.
Рис. 3. Крепление кольца с помощью ленты:

Если вы хотите получать прямо на почту новые статьи сайта, то
- 7. По линии, отмеченной вверху шторы пристрочите ленту велкро. Подверните край на изнанку. Пристрочите нижнюю часть ленты велькро уже по изнаночной стороне шторы.
- 8. Другую часть ленты велкро приклейте к деревянной планке, которая будет служить для шторы карнизом.
Как повесить рулонную штору :
- • Прикрепите штору на планку-карниз на ленту велкро, если не хотите возиться с лентой, можно просто прикрепить штору степлером к бруску.
- • Расположение лент с кольцами отметьте на изнаночной строне шторы, уже прикрепленной к нашему карнизу(планке), и в планкувверните крючки напротив каждого кольца (рис. 4 ) .
Рулонные шторы своими руками на липучке. Разновидности фасонов штор на липучке
Самыми практичными являются римские шторы, представляющие собой прямой отрезок ткани по размерам оконного проема. Текстильные изделия отличаются универсальностью и при необходимости могут быстро подниматься и опускаться посредством шнура, образуя аккуратные горизонтальные складки в верхней части окна. Классическая римская штора на липучке прекрасно вписывается в интерьер помещения с разными стилями и направлениями.

Вторым вариантом популярных штор на липучке являются японские, которые функционируют по такому же принципу, как и сдвижные двери в шкафах-купе. Занавески закрепляются на специальном подвижном механизме — планке, оснащенной липучей лентой. Такая модель портьер предусматривает наличие двух или более полос полотен, занимающих все пространство окна. Однако если надо освободить оконный проем, рамки легко сдвигаются в одну сторону на нужное расстояние.
Плотные рулонные шторы также могут оснащаться лентой «велкро», что значительно облегчает процесс пользования и ухода за полотнами. Простая конструкция на липучке без сложностей крепится на раме пластикового окна. Подходит такая модель для всесезонного или временного пользования.

Разновидностью рулонных штор является самоклеящиеся жалюзи, состоящие из гофрированной плотной бумаги плиссе, которая бывает разной ширины. Свернуть бумажное полотно обычным способом невозможно, поэтому оно складывается в виде «гармошки». Изделия подходят под все виды и размеры окон. Установка осуществляется без сверления с помощью клеящейся ленты. На выполнение такой работы потребуется совсем мало времени. Предлагается большое разнообразие палитры — бумага для штор «плиссе» бывает белой, бежевой, голубой, бирюзовой, розовых, кремовых и других оттенков, что позволяет подбирать вариант под цвет интерьера и профиля.
Применяются «велкро» и для штор традиционных, благодаря чему на смену глухих текстильных петель обхватывающих штангу карниза, стали изготавливаться разъемные. Такой вид петель позволяет легко и быстро снимать занавески, если нужно их постирать или перед ремонтом, и при этом нет необходимости разбирать карниз. Одна сторона петли прочно пришита к полотну, а вторая оснащается кусочком липкой ленты — при соединении двух фрагментов создается надежное крепление.