Монтаж мини-штор рулонного типа. Как самостоятельно устанавливаются мини рулонные шторы?
- Монтаж мини-штор рулонного типа. Как самостоятельно устанавливаются мини рулонные шторы?
- Как зафиксировать рулонную штору снизу. Типы крепления рулонных штор
- Установка рулонной мини шторы легранд. Монтаж рулонных штор
- Установка рулонной шторы уют. Виды рулонных штор, устанавливаемых без сверления
- Установка рулонных штор
- Рулонные шторы мини установка. Инструкция по монтажу рулонных штор MINI
Монтаж мини-штор рулонного типа. Как самостоятельно устанавливаются мини рулонные шторы?
Стандартные рулонные жалюзи – это труба с цепочным блоком управления, на которую наматывается ткань. Они устанавливаются на окна шириной больше полутора метров или площадью больше двух квадратов. Рулонные шторы системы мини – небольшие жалюзи, адаптированные для пластиковых окон. Они предназначены для монтажа на створку или закрытия маленьких оконных проемов. Принцип действия и основная комплектация обоих видов изделий одинаковы.
Оригинальные рулонные mini жалюзи
Из чего состоит и как работает рулонная система
В базовую комплектацию мини шторы входит вал диаметром 19 мм, полотно ткани прямоугольной формы, нижний утяжелитель, цепочный блок управления, держатель цепочки, ограничители хода жалюзи и два кронштейна. При покупке готового комплекта или заказе у производителя по индивидуальным размерам компактный механизм шторы может быть дополнен направляющими лесками для откидных окон, магнитами для фиксации нижней планки, накидными или скотчевыми креплениями.
Совет: Наличие всех деталей необходимо проверять или уточнять заранее, потому что не все фирмы-изготовители кладут дополнительные аксессуары в комплект для рулонных штор мини по умолчанию.
Подъем материала осуществляется при помощи цепочки, при этом ткань автоматически фиксируется на нужной высоте. Натяжение полотна обеспечивается установкой по нижнему краю металлической планки-утяжелителя с резиновой прокладкой. Это предотвращает шумное опускание на подоконник. На мини рулонные шторы эконом-варианта ставится пластиковый утяжелитель.
Как выбрать компактную штору
Компактная рулонная система выбирается, если нужно закрыть отдельно каждую створку или ограничить доступ света через небольшой оконный проем. Фурнитура, цвет и вид ткани подбираются в зависимости от освещенности помещения, ориентации окон по сторонам света, интерьера комнаты.
Как определиться с нужными размерами
Максимальный размер изготовления по ширине составляет 1,5 м, по высоте – 1,8 м, минимальные габариты – 0,35 м. Несмотря на то что цена мини штор в несколько раз меньше, чем стандартной системы с усиленным валом, не следует заказывать компактные жалюзи размером 1,5×1,8 – изделие не выдержит такой нагрузки. Следует ориентироваться на площадь изделия – не более 2-х кв.м.
Ширина вала всегда больше ширины ткани на несколько сантиметров. Приобретая рулонные шторы, следует обращать внимание на оба этих параметра.
Важно: Карниз мини должен по ширине умещаться на створке, а ходу ткани не должна мешать оконная ручка.
Фурнитура, ткани, стили
Пластиковая фурнитура для мини рулонных штор выполняется в различной цветовой гамме, чтобы достичь максимального сочетания с цветом оконных створок. Она бывает:
- Белая
- Под дерево – светлый или золотистый дуб
- Коричневая
- Серая
В таких цветах изготавливаются блоки управления, стандартные кронштейны для крепления со сверлением и Г-образные без сверления, цепочка, нижняя планка, держатель, утяжелитель, соединитель и ограничители хода цепи.
Как зафиксировать рулонную штору снизу. Типы крепления рулонных штор
Рулонная штора может держаться на специальном креплении или на клейкой ленте. Фиксироваться может:
- на оконном профиле;
- к откосу внутри оконного проёма;
- над оконным проёмом на стену;
- к потолку.
Выбор зависит от размера полотна, особенностей помещения, личных предпочтений.
 Массивные рулоны предпочтительнее вешать на специальные крепления, которые держатся на саморезах. Маленькие лёгкие конструкции будут без проблем держаться на специальной липкой ленте или двустороннем скотче. Как правило, в упаковке с готовой рулонной шторой лежат 2 разных комплекта крепления, и покупатель выбирает на своё усмотрение. При заказе по индивидуальным размерам можно выбрать крепёж по рекомендации изготовителя.
 Массивные рулоны предпочтительнее вешать на специальные крепления, которые держатся на саморезах. Маленькие лёгкие конструкции будут без проблем держаться на специальной липкой ленте или двустороннем скотче. Как правило, в упаковке с готовой рулонной шторой лежат 2 разных комплекта крепления, и покупатель выбирает на своё усмотрение. При заказе по индивидуальным размерам можно выбрать крепёж по рекомендации изготовителя.
К потолку прикручивать целесообразно большие массивные валики. При потолочном креплении деформация конструкций менее вероятна благодаря рациональному распределению нагрузки (центр тяжести будет находиться под саморезами, а не сбоку от них). Для потолочного крепления можно предусмотреть нишу.
Визуально скрыть размеры большого валика поможет крепление к откосу. Решив зафиксировать рулонную штору на откосе, убедитесь, что материал откоса выдержит нагрузку. Например, на оштукатуренных и шпаклёванных откосах проблем с фиксацией не будет. Откосы из сэндвич-панелей держать саморезы не будут.
Маленькое окно, особенно без подоконника, стильно будет смотреться со шторкой, прикреплённой к стене над оконным проёмом.
На оконной раме можно зафиксировать лёгкие и компактные рулоны. Такое решение позволит максимально эффективно использовать поверхность подоконника.
ВАЖНО! При выборе крепления убедитесь, чтобы окна открывались и закрывались беспрепятственно.
При одновременном использовании рулонных полотен с гардинами и портьерами важно обеспечить достаточное пространство для всех элементов декора окна.
Направляющие для рулонных штор значительно продлевают их срок эксплуатации. Они обеспечивают передвижение без смещений и деформаций.
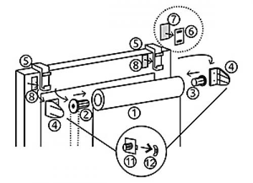
Установка рулонной мини шторы легранд. Монтаж рулонных штор

- Вставить справа или слева механизм с цепочкой (2) в трубу рулонной шторы (1), с противоположной стороны – валик (3).
Цепочка должна быть направлена строго вниз!
Для поворотно-откидной створки:
- Вставить боковые кронштейны (4) в навесные кронштейны (5), приклеить скотч (8)
- Обезжирить места приклеивания скотча спиртосодержащим раствором
- Навесить собранную штору на раму, плотно прижать
- НЕ использовать штору 24 часа !
Для «глухой» створки:
- Вставить боковые кронштейны (4) в монтажные площадки (6), приклеить скотч (7)
- Приложить собранную штору к раме, отметить места крепления монтажных площадок
- Приклеить к раме монтажные площадки (6) с кронштейнами (4), плотно прижать!
- Через 24 часа снять с обоих кронштейнов (4) заглушку (12), извлечь фиксатор (11)
- В собранную рулонную штору вставить фиксатор (11) в вал (2) и (3), защелкнуть в кронштейне (4), зафиксировать заглушкой (12)
- Приклеить внизу рамы металлические пластины напротив магнита на отвесе
При полностью развернутой шторе на трубе должно оставаться не менее 1 оборота ткани!

Установка рулонных штор с помощью шурупов на створку, стену, потолок, проем
(Для размеров 38-160 см)
- Вставить справа или слева механизм с цепочкой (2) в трубу рулонной шторы (1), с противоположной стороны – валик (3).
- Вставить боковые кронштейны (4) в собранную штору
Цепочка должна быть направлена строго вниз!
- Отметить места крепления боковых кронштейнов (4) (створка, стена, потолок, проем), прикрутить шурупами (10)
- снять заглушки (12), извлечь фиксатор (11)
- В собранную рулонную штору вставить фиксатор (11) в вал (2) и (3), защелкнуть в кронштейне (4), зафиксировать заглушкой (12)
- Приклеить внизу рамы металлические пластины напротив магнита на отвесе
При полностью развернутой шторе на трубе должно оставаться не менее 1 оборота ткани!
Установка рулонной шторы уют. Виды рулонных штор, устанавливаемых без сверления
Без надежной фиксации можно монтировать только относительно легкие конструкции. В первую очередь к ним относятся рулонные жалюзи «Мини» (Mini) и «Уни» ( UNI ). Последние имеют две модификации. Чтобы понять, какие из них больше подойдут к тому или иному окну, нужно знать их отличия друг от друга.
-  Шторы «Мини» – самый простой и бюджетный вариант. Вся конструкция состоят из вала, на который намотано полотно штор. А нижний край полотна вставлен утяжелитель в виде пластиковой или металлической планки. В вал с обеих сторон вставляются кронштейны, на которых он вращается, и с помощью которых он крепится к раме. Шторы «Мини» 
-  Системы «Уни» отличаются от «Мини» тем, что вал с полотном у них помещен в короб-кассету, которая защищает ткань от пыли, выгорания и повреждений. Такие шторы ещё называют кассетными. Кроме того, конструкции оснащены двумя боковыми направляющими, благодаря которым шторы не провисают при откидывании створки и не пропускают свет между собой и рамой окна. Намотанное на вал полотно полностью скрывается в кассете, как в футляре, поэтому такие шторы удобно хранить и транспортировать. Системы «Уни» 
Разница между системами «Уни 1» и «Уни 2» заключается в конструкции кассеты и форме направляющих. Кассета и направляющие первого типа штор крепятся к штапику окна , поэтому немного перекрывают световой проем по всему периметру. Но полотно при этом располагается максимально близко к стеклу.
Кассета «Уни 2» имеет основание толщиной 10 мм, а направляющие такой же глубины выполнены в форме буквы П, которая крепится к раме «ножками» в сторону стекла и не перекрывает его. Но из-за более объемного короба створка окна не распахивается на всю возможную ширину, так как он упирается в откосы.
«Уни 1» и «Уни 2»
В отличие от «Уни 1» рулонные шторы «Уни 2» сохраняют световой проем и могут устанавливаться практически на любые окна

Снаружи проема
Разница в угле открывания створки
Обратите внимание. Установить кассетные рулонные шторы «Уни 1» можно только на окно с прямоугольным штапиком глубиной не менее 10 мм.
Эти особенности штор нужно знать, чтобы выбрать подходящий тип и сделать точные замеры перед покупкой или заказом. Если полотно окажется не того размера, оно не поместится между направляющими либо наоборот – будет свободно болтаться между ними.
Также без сверления можно монтировать и некоторые другие, более тяжелые конструкции. Например, горизонтальные жалюзи или шторы-плиссе.

Жалюзи или шторы-плиссе
Но это возможно только в случае с распашными створками и при использовании специальных кронштейнов. Тогда как популярные «Уни» и «Мини» прекрасно устанавливаются и на глухие окна .

Установка рулонных штор
Существует два вида крепления рулонных штор системы ROLL:

Крепление на потолок над оконным проемом или в оконный проем

Крепление на стену
Рассмотрим поэтапно процесс установки рулонных штор системы ROLL:
1) Крепление рулонных штор на потолок или стену с помощью саморезов :
1. Для определения мест крепления кронштейнов приложите всю конструкцию строго горизонтально к стене или потолку и сделайте отметки с двух сторон изделия.
2. Приложите кронштейны к стене или потолку, ориентируясь на отметки и разметьте места крепления кронштейнов.
3. Прикрутите кронштейны двумя саморезами через монтажные отверстия.
4. Вставьте с торцов в рулонную штору защелки с шестеренками.
5. Придерживая защелки, вставьте рулонную штору в прикрученные к стене (потолку) кронштейны, утопив в них защелки с шестеренками до характерного щелчка.
6. Установите крышки кронштейнов.
7. С помощью двух установленных на цепь ограничителей движения цепи отрегулируйте крайние положения ткани.
2) Крепление рулонных штор на потолок или стену на защелки :
1. Для определения мест крепления защелок приложите изделие к потолку или стене и сделайте отметки с двух его сторон.
2. Отступив по 10-15 см в направлении середины изделия, равномерно разметьте оставшееся внутреннее пространство между всеми защелками (их количество зависит от ширины системы CLIC) и сделайте отметки на стене или потолке для отверстий.
3. Прикрутите защелки саморезами через монтажные отверстия.
4. Зафиксируйте верхний карниз изделия в защелках до характерного щелчка.
5. С помощью двух установленных на цепь ограничителей движения цепи отрегулируйте крайние положения ткани.
Существует два вида крепления рулонных штор системы ROLL GRANDE:

Крепление на потолок над оконным проемом или в оконный проем

Крепление на стену
Рассмотрим поэтапно процесс установки рулонных штор системы ROLL GRANDE:
1) Крепление рулонных штор на потолок с помощью кронштейнов :
1. Для определения мест крепления потолочных кронштейнов приложите всю конструкцию строго горизонтально к потолку и сделайте отметки с двух сторон изделия. Обратите внимание! Открытая часть цепочного механизма должна смотреть строго вниз.
2. Отступив по 10-15 см в направлении середины изделия, равномерно разметьте оставшееся внутреннее пространство между всеми потолочными кронштейнами (их количество зависит от ширины системы GRANDE BOX) и сделайте отметки на потолке для отверстий.
3. Прикрутите потолочные кронштейны саморезами через монтажные отверстия. Обратите внимание! При установке потолочного кронштейна его пластиковая защелка должна быть повернута к лицевой стороне изделия.
4. Установите алюминиевый короб в потолочные кронштейны до характерного щелчка защелок.
2) Крепление рулонных штор на стену с помощью кронштейнов :
1. Для определения мест крепления стеновых кронштейнов приложите всю конструкцию горизонтально по уровню к стене и сделайте отметки с двух сторон изделия. Обратите внимание! Открытая часть цепочного механизма должна смотреть строго вниз.
2. Отступив по 10-15 см в направлении середины изделия, равномерно разметьте оставшееся внутреннее пространство между всеми стеновыми кронштейнами (их количество зависит от ширины системы GRANDE BOX) и сделайте отметки на стене для отверстий.
3. Соедините винтом с гайкой стеновой кронштейн с кронштейном потолочным таким образом, чтобы его пластиковая защелка была повернута к лицевой стороне изделия.
4. Прикрутите собранные кронштейны саморезами к стене через монтажные отверстия.
5. Установите алюминиевый короб в кронштейны потолочные до характерного щелчка защелок.
Существует три вида крепления рулонных штор системы INTEGRA SLIM:
Крепление на саморезы
Крепление на двухсторонний скотч
Крепление на навесные кронштейны
Рассмотрим поэтапно процесс установки рулонных штор системы INTEGRA SLIM:
1) Крепление рулонных штор на створку стеклопакета с помощью саморезов :

1. Для определения мест крепления кронштейнов приложите всю конструкцию горизонтально по уровню к створке окна и сделайте отметки с двух сторон изделия.
2. Приложите кронштейны к створке окна, ориентируясь на размеченную по ширине изделия область, и отметьте места отверстий.
3. Прикрутите кронштейны саморезами к раме окна через монтажные отверстия. Обратите внимание! Чтобы не повредить стеклопакет, рекомендуем длину самореза подбирать исходя из глубины штапика.

4. Вставьте с торцов в рулонную штору защелки с шестеренками.
5. Придерживая защелки, вставьте рулонную штору в прикрученные к раме кронштейны, утопив в них защелки с шестеренками до характерного щелчка.
Рулонные шторы мини установка. Инструкция по монтажу рулонных штор MINI

1. Порядок установки модели MINI

- Распаковать жалюзи, аккуратно разрезав упаковочный рукав. Будьте осторожны с режущими предметами, которые могут поцарапать изделие. Раскрутить цепочку управления.
- При установке со СВЕРЛЕНИЕМ разметить предполагаемые места крепления кронштейнов (см. рис. а) и прикрутить их саморезами.
- При установке на СКОТЧ вставить кронштейны в платформы с наклеенным на них двусторонним скотчем, разметить предполагаемые места их крепления (см. рис. б) и обезжирить их . Отклеить защитную пленку с платформы для скотча и приклеить их.
- Вставить в механизм и заглушку шторы губки кронштейна, (см. рис. г).
- Вставить штору в сборе в кронштейны до щелчка. Отверстие в механизме, из которого выходит цепь, должно быть направлено вниз.
- Надеть на оба кронштейна крышки, (см. рис. д).
- Опустить полотно ткани в нижнее положение и установить нижний ограничитель цепи около кронштейна, (см. рис. е).
- Поднять полотно в верхнее положение, 1-2 см ткани должно свисать, и установить верхний ограничитель цепи около кронштейна.
- Проверить работоспособность изделия путем опускания и поднятия полотна. Полотно ткани при поднятии/опускании не должно касаться окружающих предметов!
 Если изделие комплектуется магнитами (2 шт.), то прикрутить их саморезами (входят в комплект поставки) к тыльной стороне нижней планки на расстоянии 10 см от краев планки.
Если изделие комплектуется магнитами (2 шт.), то прикрутить их саморезами (входят в комплект поставки) к тыльной стороне нижней планки на расстоянии 10 см от краев планки.2. Установка лески

- Продеть конец лески с узлом в нижнее (или верхнее) прямоугольное отверстие кронштейна и завязать узел. 
- Обрезать остаток лески после узла. 
- Установить верхний кронштейн в крепление. После установки узел должен быть зажат между плоскостью кронштейна и рамой. 
- Проделать эту операцию с другой леской. Примечание: для установки лески в полностью закрытом состоянии под нижней планкой готового изделия необходимо предусмотреть минимум 3.5 см высоты для установки нижнего кронштейна. 
- Продеть леску через направляющие в нижней планке и нижние кронштейны. Прикинуть расположение нижних кронштейнов. 
- Установить кронштейны на раму окна. Рекомедуется установка на саморезы.  
- Надеть кольцо стопорное на леску. Вставить кольцо с леской в кронштейн снизу. Леска должна быть натянута. Зафиксировать леску винтом стопорного кольца.   
- Если леска не натянута, то ослабить винт на кольце, натянуть леску и затянуть винт. Надеть сверху крышки на кронштейны.
- Проверить работоспособность изделия путем опускания и поднятия полотна. Если леска натянута слишком сильно и мешает изделию работать равномерно, то отрегулировать натяжение лески с помощью винта стопорного кольца.
- Остатки лески отрезать ножницами.
- Проделать эту операцию с другой леской.
3. Установка магнитов
После установки изделия наклеить на раму окна полоски магнитной ленты на уровне магнитов, в положении опущенной нижней планки.
Готовое изделие в сборе

Правила эксплуатации
- Подъем и опускание полотна ткани осуществляется с помощью цепочки управления. Фиксация нижней планки на любом уровне происходит автоматически.
- Изделие предназначено для установки только внутри помещений на рамы окон с относительной влажностью воздуха не более 70% и с плюсовой температурой.
- Необходимо избегать любого механического воздействия на полотно и комплектующие, а также попадания грязи на полотно ткани.
- Допускается только сухая чистка полотна ткани мягкой щеткой или пылесосом.
- Не допускается резкий подъем и опускание полотна.
- Не допускается самостоятельный ремонт изделия клиентом.
- Не допускается эксплуатация изделия без ограничителей цепи.










 
                 
                 
                 
                 
                 
                 
                 
                 
                 
                 
                